These aren’t just a Nukeproof Horizon pedal with Sam Hill’s signature – find out below how the EWS winner helped develop the Pro Enduro pedal. The story behind the pedal…
February 2020
Teased: New EXT ERA Fork
Makers of very good coil shocks EXT are in full tease mode, as they prepare to reveal their first MTB suspension fork. We reviewed the EXT Storia V3 shock recently,…
Singletrack Podcast 489 | Shimano Patents, Print and the Corona Virus
This week Hannah talks to Andi about Shimano’s latest patent filings, electronic dropper posts, the Corona virus and carbon rims that can’t possibly exist. Then Mark tells us all bout…
Jordie Lunn Memorial Bike Park Announced
Langford, Vancouver Island will be home to the new Jordie Lunn Memorial Bike Park set to open later in 2020. The new bike park was announced earlier this week and…
From In A Tunnel, It’s Fresh Goods Friday 489
You can be forgiven for feeling a bit flat this Friday. Between floods, virus fears and the politicising of tea and crisps, it’s been a tough week. Here are some…
Tea & Biscuits Video Preview
Video premier of Tea & Biscuits, the latest creation from filmmaker and creator of the A Slice of British Pie series Tommy Caldwell, at Llandegla One Planet Adventures, Friday 6th March 7.30pm…
Recyclable Carbon Wheels Made By Robots! Revel Wheels Revealed
One of the complaints many have about carbon fibre is its inability to be recycled. Revel Bikes has teamed up with makers of Fusion-Fiber to bring you recyclable carbon wheels…
Rotor Kapic Carbon Chainset | Tune Your Race Set-Up
We put mile-muncher Jason Miles to work on the Rotor Kapic Carbon Chainset. Is he leading the pack with these light weight cranks? Spanish component manufacturer Rotor has been around…
Bike Connection Winter 2020: Day 2 Round-Up
Due to the threat of having to self quarantine for two weeks upon returning to the UK, Amanda is homeward bound with Rob Sherratt (Nukeproof marketing extraordinaire) in convoy with…
Bike Connection Winter 2020: Day 1 Round-Up
The trails are dusty, the sky is blue, the quarantine area for Coronavirus is expanding, and Amanda has been finding out what’s up and coming from a small selection of…
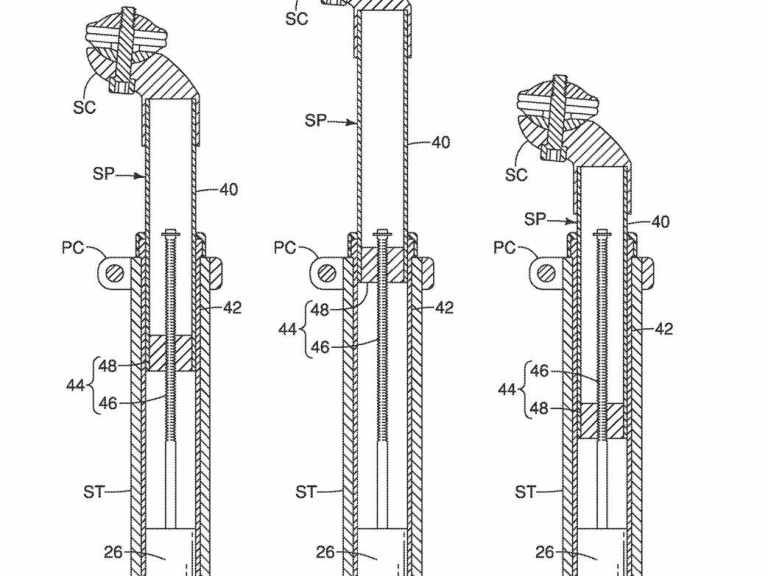
Shimano Patent describes automatic wireless dropper post
A recent Shimano patent describes an automatic dropper post with additional wireless control. Yes, automatic and wireless! Electronics are being integrated into bikes at a much faster rate than ever…
Specialized Recon Shoes Get A Revamp. New Design For 2020
“Specifically designed for mud” reckons Specialized of its new Recon family. The Recon 1, 2 and 3 are differing levels of spec, but all share a similar trail shoe style.…
Chile’s Majin Cycles will build you one of these for $350
Majin Cycles from Chile isn’t likely a name that you’ve come across before, but fans of steel suspension bikes should give them look. It was a few years ago when…
Stay Tuned For Bike Connection Winter 2020
Amanda is out in Italy at Bike Connection Winter 2020 – stay tuned to our channels for product news and inside info. Bike Connection is an opportunity for brands and…
426er Another Industry Standard
Do you remember how we all debated the 26″ versus 29er wheel sizes around ten years ago. Well, I am afraid those arguments may well be back. You see, at…
Video: This trick was 7 months and 35 attempts in the making!
Paul Couderc should now be called “Mr. Perseverance’ after attempting this ballsy trick 35 times over 7 months before nailing it! Ever tried a jump or trail section a few…
Actofive Cycles P-Train mixes steel, high-pivots and CNC alloy in one sexy frame
German fabricator Actofive Cycles reveals the P-Train our new favourite niche machine! We all know that mountain biking follows certain trends. From anodised purple parts, Judy yellow kit, and MotoX…
Slickrock Trail Saved From Oil & Gas Operations
Moab’s world famous Slickrock trail seems to have escaped a recent threat from oil and gas operations… for now. Under US land laws, parcels of BLM land can be nominated…
Review | SRAM AXS Eagle – Wireless Shifting That Works
David tests out the flagship SRAM AXS Eagle XX and X01 groupsets – will the wireless drivetrain stun him with its performance? Historically, I’m not a fan of mixing mountain…
Making Up The Numbers Podcast Episode 7 | Ad Brayton & Dan Bladon
Earlier this week Ad Brayton and Daniel Bladon dropped into the studio with George to record the final podcast episode of season one. Topics of conversation included smashing wheels, finding…
Are You Prepared For The Worst? A true story of disaster
It’s content like this that we have a hard time putting behind a members only paywall – Stories like this are important in helping get the message out there that…
The Fresh Goods Friday Podcast | Episode 488
This week we chat e-MTB racing – yes really! Plus New kit from MucOff, holidays, stuff that Ross keeps breaking and we hear from our Mega Sack winner who popped…
When and where are the 2020 UCI MTB World Cup and World Champ Races?
Here are all the dates, and places of the 2020 UCI MTB World Cup and World Champs races. While writing up this story, I realised that we’re only a few…
Fresh Goods Friday 488
“Splish, splash, sploosh… whirr… whirr” – which is either the sound of the endless rain here, combined with the TurboTrainer Of Desperation… OR it’s the sound of espresso being delivered…
Dorval AM Team announces 2020 sponsors
Just when you thought DH Team news was coming to an end, Dorval shows up with a host of new sponsors. The Dorval AM Racing DH Team has announced it’s…
iceBike* 2020 – News from Thule, Park, Pro, Lazer and more
We’ve just been spending the day down in windy Milton Keynes for iceBike* 2020, Madison’s house show where it had many of its brands on display and lots of new…
Review | EXT Storia V3 – The Last Shock You’ll Ever Need To Buy?
The EXT Storia LOK V3 is a high end, Italian coil shock. I first spoke with EXT at Eurobike in 2017, but at the time they didn’t have a UK…
Review | Manitou Mara Pro – Do You Like To Party?
Manitou, and parent Hayes Group have spent a while focussed on enduro-type products, from forks, to brakes, wheels and now this new Mara Pro shock. In Sanskrit, the word mara…
Nina Hoffmann | The Newest Stif MTB Team Rider
Stif Mountain Bikes is ready to kick start the 2020 race season, announcing that rising DH World Cup star, Nina Hoffmann, will be flying the Stif Mountain Bikes flag across…
HUNT Mountain Announce 2020 Athletes
Despite having only launched the wheel range in May 2018, the HUNT family continues to grow with the addition of three new team members for 2020. Official press release: From…
Tahnee Seagrave Breaks Her Ankle Putting Her Season In Doubt
Pro DH star Tahnee Seagrave has announced she’s broken her ankle while riding this weekend. Her Instagram account detailed her time in hospital and includes some unpleasant images and video…
Singletrack Fresh Goods Friday Podcast 487 | ebikes, Cedric Gracia and more ebikes
We are not new to Podcasts. In fact in much the same way that Mark was a first generation skateboarder back in the early 80’s, Singletrack got on the Podcast…
Forget Love, This is Where The Hot Stuff Is | FGF 487
Chipps is back from holiday, Andi is on holiday, and Hannah is about to go on holiday. We are like ships in the night. Or underpaid shift workers sharing a…
Commencal Meta TR SX | A Bike For Those That Party?
Commencal reveals the new Meta TR SX, a bike for those ‘who want to ride harder and stronger and who think that enjoying oneself is most important’. It’s for those…
New Salsa Rustler in Aluminium, Plus New Range Colours
Salsa has revealed the new line up of colours and builds for the Salsa Horsethief, Spearfish and Rustler, plus a new Rustler frame in Aluminium. UK riders a can stand…
YT Jeffsy Primus | A Full Suspension Bike For The Young And Talented
It makes sense that YT should launch a kids’ bike, given they’ve been scouting the world for new Young Talent. So here it is: the Jeffsy Primus. There are two…
Atherton Bikes Release First Fifty Bikes For Sale
News just in from Atherton Bikes. The first fifty (so exclusive that they have their own #firstfifty hashtag) bikes have been released for sale today. It’s expected that once these…
Nukeproof Cub Scout | Bikes For The Mini-Shredders
Nukeproof reveals a range of bikes for the future Sam Hills in your family: the Nukeproof Cub Scout. Launching the bikes, which will be available on sale from 14th February…
The Hate Guide to Bikepacking
We spotted this research paper, published on Facebook. We thought that like any reputable and reliable research, it should be peer reviewed, so we’re placing it before you for appraisal…
Troy Lee launches the brand new D4 Full Face Helmet
Incredibly, it’s 11 years since the Troy Lee D3 helmet launched, bringing all of Troy Lee’s famous design flair together with a very distinctive full face helmet design. The D3…
Crankbrothers launches affordable Alloy Synthesis Wheelsets for XCT, Enduro and E-Bikes
Crankbrothers has added an alloy version of the Synthesis wheelset to its range offering tuned wheel action for riders not wanting carbon. It was around this time last year that…
Matt Simmonds Launches ProLine Coaching
Following on from rumours earlier this year, UK downhiller Matt Simmonds has announced he’s taking a step away from world cup racing this year to focus on the British National…
Been Off The Bike? You Need To Watch This | Innes Graham, Racing Killed The Love
If you’ve been off the bike and struggling to get out, then you need to watch this. Actually you should watch it whatever you’ve been doing, and listen to what…
The Merida EX Enduro Returns for 2020
The Merida EX Enduro returns in 2020 with perfect trails, stunning scenery and possibly the best food and drink ever served at a mountain bike event. The Merida EX Enduro…
Danny Hart | Between The Races
Ever wondered what Danny Hart does when he’s not racing? Does he nip down to his local pub for a pint? Does he like a nice G&T in a fancy…
Votes For Women (‘s Cycling Awards)
Well, this is all rather embarrassing and uncomfortable, but I’ve been told I’ve got to tell you that I’ve been nominated for an award, at the inaugural Women’s Cycling Awards,…
Singletrack Magazine Issue 129 | Chris Akrigg: Quick. Change.
Chipps quizzes Chris Akrigg just before he announces his new bike sponsor, GT, after 12 years on Mongoose. Words & Photography Chipps I’m watching Chris Akrigg ride a bike through…
MTB Video Vault | Put Your Feet Up and Get Inspired
If you’re going to spend time in front of a screen it may as well inspire you to get out and ride, or put you in a state of awe.…
Exclusive: Kilian Bron’s travel diary to the Eolian Island Volcanoes
Kilian Bron recently shot an epic video on active volcanoes with Commencal. Read his adventure diary from that trip here. We often tend to travel to the other side of…
Have a fiver on us.
Yes, we want to give you £5.00. It really is almost that straight forward. This Sunday evening everyone on our newsletter list will be sent a £5.00 discount voucher code…
Sun Ringle Düroc SD37 Pro Wheels | For Rim Dingers
We sent David ‘Dinger’ Hayward out to beat up these Sun Ringle Düroc SD37 Pro wheels, available as both a rim only or complete wheelset option. Will his reputation as…
